기류 방식(Patterns of Air Flow) : 층류식, 난류식, 혼류식, 터널식이 있으며 각각의 특징대로 사용목적을 고려하며 결정
청정도(Cleanliness Level) : 제품의 요구되는 정도의 의해 결정
계획(Lay - Out) : 사람, 물건, 출입구, 유지보수 등을 검토하며 먼지가 많이 발생하는 작업과 그외의 작업과 격리시킨다. 작업성과 청정도를 만족하도록
결정 구조 , 재료(Structure & Materials) : 실내 표면을 매끄럽게 해서 기류파괴, 먼지 적체가 되지 않는 구조로 하며, 먼지발생, 입자부착을 고려해 청소가 용이한 재료 선택 한다.
사람과 물건의 관리(Control of Working Persons and Materials) : 반입물품관리를 최대 발진원으로 하며, 작업자는 기본지식교육화한다.
유틸리티(Utility) : 기류방식, lay-out의 flexbility를 고려하여 결정하며, 유지보수시 청정도 저하를 초래하지 않도록 주의하여야 한다.
안전대책과 비상 설치(Safety & Emergency Plan) : 밀폐공간인 크린룸은 화재, 가스누설, 정전대비 등에 대한 대책이 필요하다. 정전문제 발생될 장비에 대해 비상전원설비를 갖춰야 하며 검토할 필요가 있다.
| 기획 | 건물의(목적, 기능, 규모), 구조, 예산, 공기 |
|---|---|
| 기본계획 | 공조의 범위, 실내 환경의 정도, 공조방식의 검토, 공조의 개략 예산, 자료의 수집, 기계실의 위치, 덕트배관, LAYOUT, 기타기본 계획도, 개략적인 사양서, 개략적인 예산서 |
| 실시계획 | 공조 방식의 검토및 결정, 열원 방식의 검토및 결정, 개략적인 부하계산, 각 스페이스 및 그 위치, 장비의 배치 계획, 차폐열, 방음, 건축 계획과의 융합, 기타(방신, 방습 등), 실시계획도. 개략적인 사양서, 개략적인 예산서 |
| 실시설계 | 부하계산, 풀량산출, 장비 부하 산출, 기기선정, 덕트 및 배관 설계, 개략적인 예산서, 도면, 사양서 예산서 등, 시방서(특기 시방서) |
| 방식/항목 | 청정도(F.S) | 가동시 청정도 | 운전비 | Layout 변경 |
공조제어 | 방 식 |
|---|---|---|---|---|---|---|
| 수직층류방식 Vertical Laminar Airflow CleanRoom |
(Class1~100) | 작업자로부터의 영향은 적다. | 고 | 용이 | 실전체제어 때문에 실내에서의 불균형 약간 있음 |
![]() |
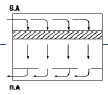
| 수평층류방식 Horizontal Laminar Airflow CleanRoom |
(Class 100) | 상류의 발진이 하류에 영향을끼친다. |
중 | 곤란 | 상류의 발진이 하류에 영향을끼친다. |
![]() |
| 난류방식 Turbulent Airflow Clean Room |
(Class 1,000 ~ 100 ,000) | 작업자로 부터의 영향이있다. | 저 | 용이 | 불균형 있음 | ![]() |
| 혼류방식 Mixed Airflow Clean Room |
(Class 1,000 ~ 100,000) | 작업자로 부터의 영향은 약간 있다. | 중 | 용이 | 불균형 있음 | ![]() |
| 터널방식 Tunnel Clean Room |
(Class~100) | 작업자로 부터의 영향은 가장 적다. | 중 | 곤란 | 작업부마다 고정밀도 제어 가능 |
![]() |
| 클린튜브방식 Clean Tube |
(Class 0 ~1,000) | 작업자로 부터의 영향은 없다 |
저 | 곤란 | 고청정도 유지 | ![]() |
| ROOM | 압력차(mmAq) |
|---|---|
| 청정도 Class가 다른 CleanRoom | 0.5 |
| Clean Room과 Clean복도, 갱의실 | 0.5 ~ 1.0 |
| Clean복도, 갱의실등과 일반실 | 1.0 |
| Clean Room과 일반실 | 1.5 |
| 청정도 | 환기회수(회/h) |
|---|---|
| Class 100 | 200~600 |
| 1,000 | 50~70 |
| 10,000 | 30~40 |
| 100,000 | 20~30 |
| 종류/특징 | 형식 | 사용예제 | 분진 입경 |
압력손실(mmAq) | 분집포집효율(%) | 분진유지용량 | |||
|---|---|---|---|---|---|---|---|---|---|
| 초기 | 최종 | 중령법 | 비색법 | 계수법 | |||||
| 초급성능 | 롤형필터 (재생, 사용후폐기) 판넬형필터 (재생, 사용후폐기 |
부직포, 직물, 스폰지, 유리매트 | 5㎛ 이상 |
1~10 | 5~20 | 30~98 | 50~20 | - | 300~800 g/㎡ |
| 90이상 | 50~70 | 20~40 | |||||||
| 중성능 | 여재절곡형 필터 취류형 필터 |
부직포, 스폰지, 유리여지, 유리매트 |
1㎛ 이상 |
5~10 | 10~20 | 98이상 | 85~98 | 50~90 | 100~500 g/Unit |
| 고성능 | 여재절곡형 필터 취류형 필터 |
부직포, 스폰지, 유리여지, 유리매트 |
1㎛ 이하 |
10~15 | 20~30 | - | - | 99.97 | 100~500 g/Unit |
| 초고성능 | 여재절곡형 필터 | 유리여지 | 1㎛ 이하 |
12~25 | 25~50 | 80~90 | 80~90 | 60~90 | 200~800 g /㎡ |
| 정전식 | 일단하전+ 여재 이단하전 이단하전+ 여재 유진형 |
부직포, 유리매트 | 1㎛ 이하 |
3~7 | 3~15 | AFI | NBS | DOP | 500~80 g /㎡ |
COMPANY INFORMATION
상호 : 주식회사 시원테크 l 사업자등록번호 : 319-87-00263